欢迎访问快快123财税服务!
关于我们
联系我们
188 0772 8939
188 0772 8939
企业服务导航
工商服务
公司注册
银行开户
税务登记
公司变更
公司注销
财税服务
代理记账
税务筹划
财务咨询
研发费用加计扣除
专项审计报告
知识产权
实用新型专利申请
发明专利申请
发明专利转让
软件著作权申请
增值服务
高新技术企业认定
瞪羚企业认定
专精特新企业认定
科技成果登记服务
政府补贴项目申请
网站首页
找服务
财税资讯
加计扣除资讯
工商资讯
高新企业资讯
知识产权资讯
关于我们
当前位置: 资讯中心 > 财税资讯 >
资讯中心
财税资讯
加计扣除资讯
工商资讯
高新企业资讯
知识产权资讯
常见问题
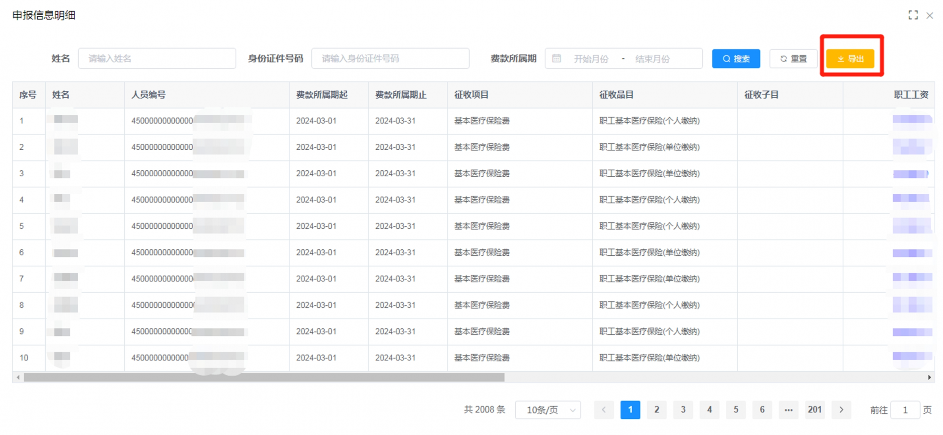
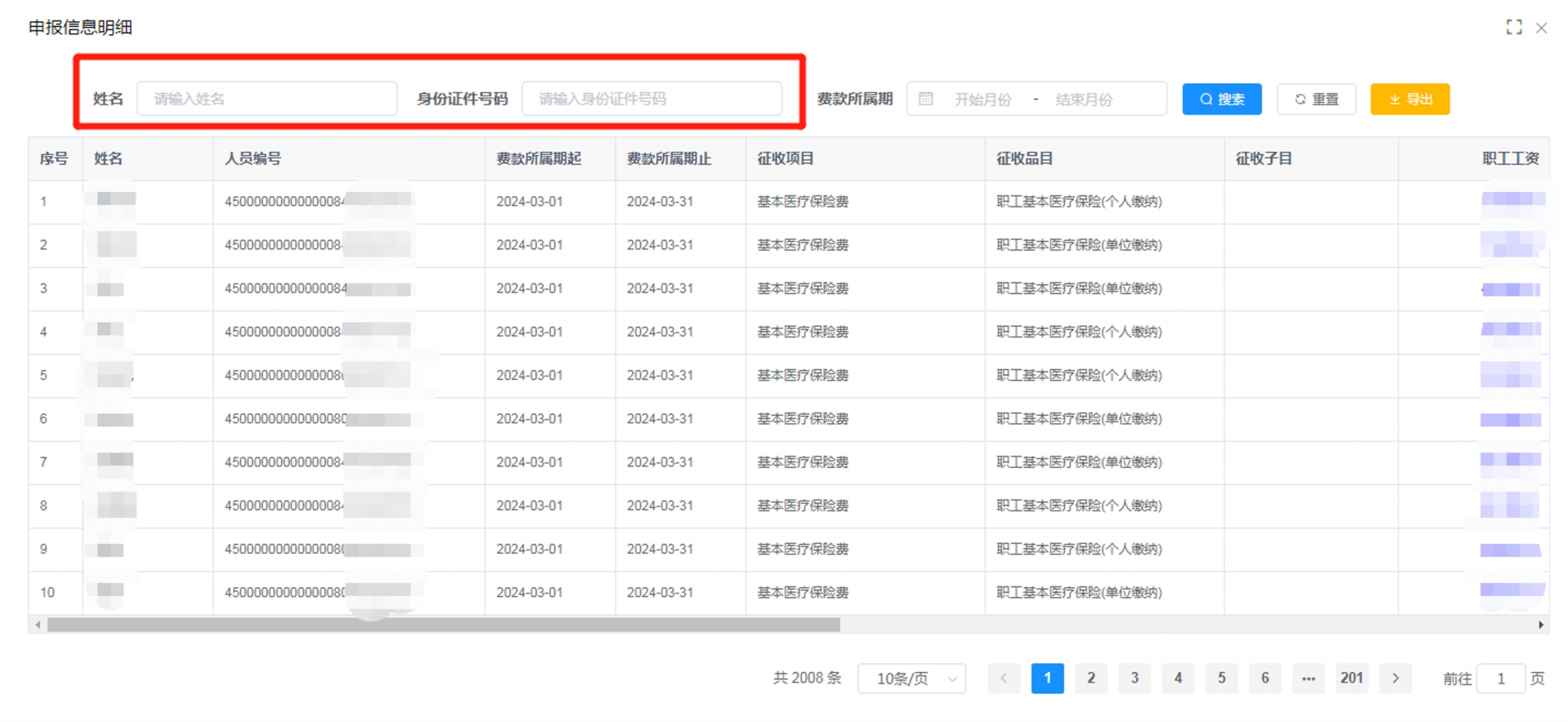
近期很多缴费人朋友咨询,缴纳完职工社保费后,在哪里可以查询职工社保费的缴费明细呢?有没有地方可以导出缴费明细用于存档呢?
今天教您如何查询职工社保费缴费明细,并导出保存。
上一个:
【政策解读】“反向开票”是啥?一文了解→
下一个:
【新电子税局操作指引】印花税、契税、房产税等财产行为税如何申报?